微孔精密过滤系统。微滤管可通过气体反吹或液体反冲再生使用。常用于少量活性炭或微量杂质过滤。常用于氯碱生产上的含钙、镁等盐水精滤;无机盐生产原料液的精滤;大处理量的化工液体精滤;母液、结晶液、浸出液的精滤。
微滤管精度:0.2-50微米,耐酸碱性能好。PA管可承受温度110℃,PE管可承受温度80℃。
过滤器壳体材质:304、316L、Q235。
防腐处理:表面热滚塑、喷铁氟龙、衬胶等。

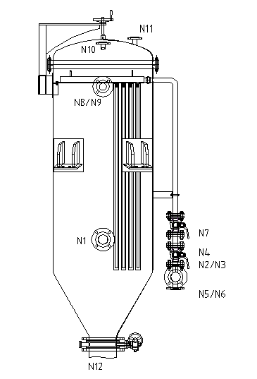
N1:物料进口
N2:液体出口
N3:循环口
N4:反吹进口
N5:备用口
N6:反洗进口
N7:汇集阀门
N8:正吹气口
N9:溢流口
N10:压力表口
N11:测温口
N12:排渣口
1、在立式密闭机体内悬挂微滤管为主过滤区,并设备底部的气动排渣底盖上设有带过滤平板的辅助过滤区。
2、以上结构除了单位面积大、占地面积小以外,主要解决将机外物料通过上部主过滤区快速过滤完,底部的辅助过滤区能将机内剩料一次过滤完,实现最后过滤机罐体内残液通过底部过滤干净,达到无残液目的。
3、将过滤、干压工序在一个机内完成,缩短工艺流程,且避免滤饼被外界污染,密闭过滤,清洁化生产;启闭气动快开底盖操作简便,排除滤饼便捷。
4、排出较干的滤饼,减少后工序的能耗。
5、已广泛使用于超细金属粉体、无机盐粉体、结晶体及其他较粘细的固体产品过滤、洗涤、压干的精密过滤。

化工行业:
氯碱生产上的含钙、镁等盐水精滤无机盐生产原料液的精滤大处理量的化工液体精滤母液、结晶液、浸出液的精滤。
水处理:
(生产用水、生活用水与废水)河水、地下水、自来水、井水微滤或回用废水过滤(中和后的重金属废水如电镀废水、线路板废水、蓄电池废水、矿山废水、磁性材料废水及含硫废水、含氟废水)含烟尘废水过滤,堆煤场废水过滤,煤矿矿井废水过滤。



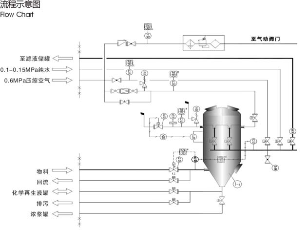
1、过滤机起动时,至少要有5-10分钟的低压(或低真空)的起动时间,其工作压力不超过0.03Mpa,然后将压力(或真空)逐步增加。绝对避免一起动就将压力(或真空)迅速上升到操作压力(操作真空)。
2、过滤操作压力一般不超过0.3Mpa,具有压差数值应该根据物料性能确定。
3、PE微孔管使用一定次数(根据物料性能而定)后需要进行化学再生,即再进行循环过滤式再生,这样再生的时间短,又较安全。
4 、对过滤机进行反吹的阀门应用球阀,绝对不可用闸阀或截止阀,反吹用的通气管的管径不能太小。至少不小于40毫米。反吹时开放球阀的动作要迅速。
5、PE微孔管由于机械性能好,不会发生破裂等弊病,反吹落渣均采用0.4-0.6Mpa的压缩空气、落渣情况良好,反吹也起着毛细孔的再生作用,可将堵塞在毛细孔内的固体微粒大部分反吹出来,但经长期使用后,可能毛细孔内累积部分固体微粒,影响过滤效果,此时可进行化学再生,即将PE微孔管放在酸液或碱液中浸泡,然后再用水冲洗干净,重复使用效果如初,毫无衰减。比起涤纶等滤布的落渣、再生、清洗要容易得多,再利用价值也大得多,一般情况下,只要掌握好空气反吹方法,基本上不需要化学再生。有一点需要注意,就是遇到粘性物料过滤时,这种东西易吸附在PE微孔管管壁上,反吹时不易吹落,象一层胶水样糊在管壁外部,这样就大大影响了过滤效果。遇此情况,需对症下药,消除物料的的粘附状态,方可有效过滤。
6、不管使用几台过滤机,均要配备一只反吹用“储气罐”,容积至少要0.5M3,10M3以上的过滤机,一般要1M3的储气罐(电镀液过滤机可以不用储气罐,而直接用小型空压机的空气反吹)。
7、微孔管可反复使用。再生方法简单,可用气体吹法再生、可用化学法再生(用2%氢氧化钠溶液或市售食碱溶液浸泡12-24小时,水洗后,再用2%盐酸或食用白白醋浸泡12-24小时)也可用热水加热法再生。

规格型号 | 过滤 | 进出 | 上部 | 下部 | 上下滤 | 筒体 | 底滤 | |
WYGL-5 | 5 | 50 | 37 | 30 | 1000 | 500 | 500 | |
WYGL-8 | 8 | 65 | 66 | 37 | 1000 | 700 | 700 | |
WYGL-10 | 10 | 65 | 85 | 52 | 1000 | 800 | 800 | |
WYGL-15 | 15 | 65 | 126 | 60 | 1000 | 950 | 950 | |
WYGL-20 | 20 | 65 | 140 | 52 | 1200 | 1000 | 800 | |
WYGL-30 | 30 | 65 | 168 | 52 | 1500 | 1100 | 800 | |
WYGL-40 | 40 | 65 | 230 | 52 | 1500 | 1250 | 800 | |
WYGL-50 | 50 | 100 | 280 | 52 | 1500 | 1400 | 800 | |
………… | ||||||||
其它规格及技术参数请致电咨询。

农药化工行业过滤活性炭
案例:江苏丰山集团
版权所有© 上海五研工业过滤设备有限公司 wuyan-sh.com All rights reserved.
沪公网安备 31012002003608号